次の画像
記事へ
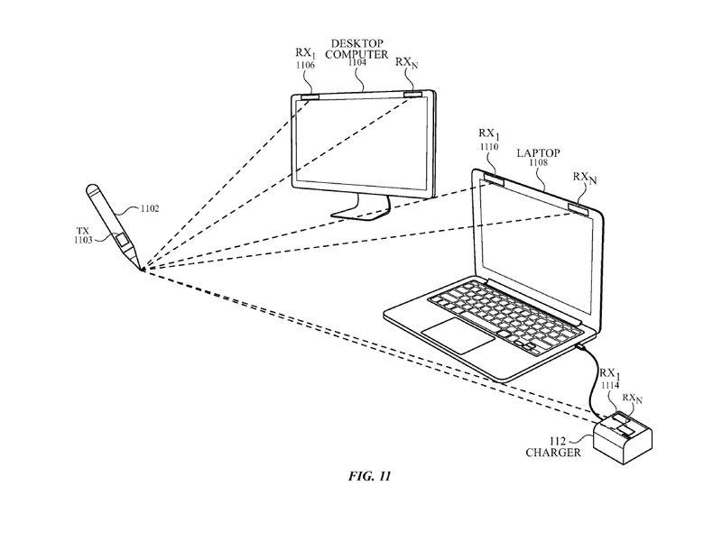
受信部を搭載したデスクトップやノートPCと通信するペン型デバイス。三角測距が応用されている。
Apple、赤外線センサーを組み込んだディスプレイ技術の特許を申請
2017年2月15日