前の画像
次の画像
記事へ
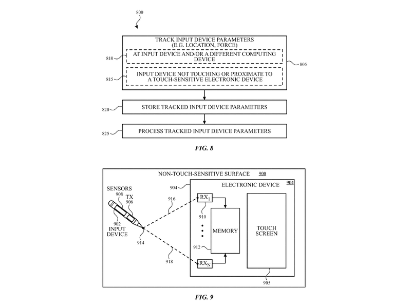
センサーとトランシーバーを搭載したペン型デバイスが、異なった周波数で情報を送信する
Apple、赤外線センサーを組み込んだディスプレイ技術の特許を申請
2017年2月15日