Apple、キーボードへのホコリ侵入を防ぐ特許
(6/6)
前の画像
(6/6)
記事へ
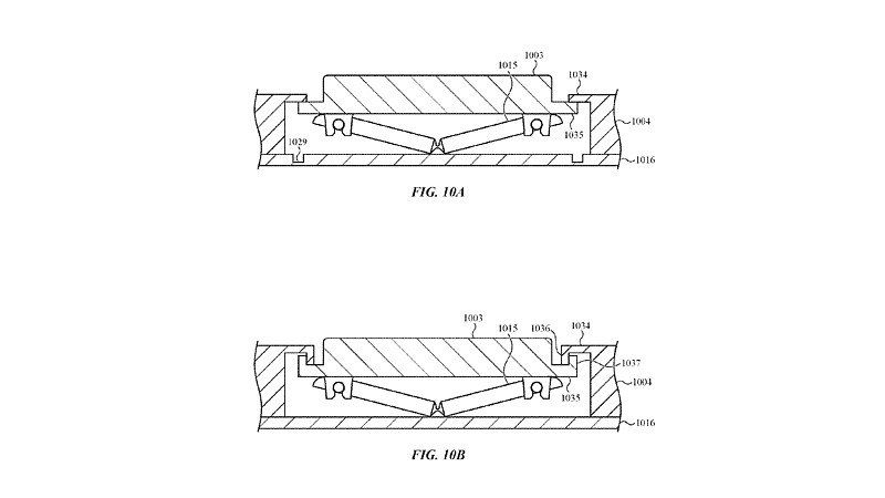
非押下時に隙間が開かないキートップの構造
前の画像
(6/6)
記事へ