Apple、キーボードへのホコリ侵入を防ぐ特許
(5/6)
前の画像
(5/6)
次の画像
記事へ
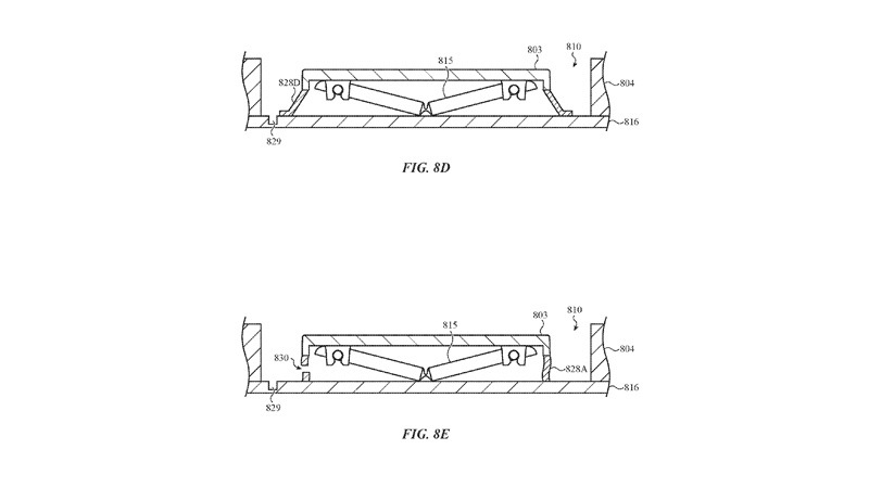
そのほか提示された構造
前の画像
(5/6)
次の画像
記事へ