Apple、キーボードへのホコリ侵入を防ぐ特許
(3/6)
前の画像
(3/6)
次の画像
記事へ
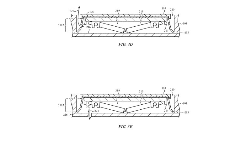
操作感に影響が出ないようにするための空気抜き穴
前の画像
(3/6)
次の画像
記事へ